Olá pessoal! Recebemos de nosso amigo Eng. Carlos Werner, da San Thies Engenharia, um vídeo muito interessante.
Você pode não acreditar, mas SIM é REALIDADE! Conheça a broca para abertura de furo quadrado. Simplesmente uma idéia fantástica!
Poderemos encontrar através de pesquisas na internet, comentários que a idéia tem mais de 130 anos.
Em outro comentário, no site http://www.guiacnc.com.br/index.php?topic=9663.0, é relatado que:
"Na verdade, um método primitivo e deficiente foi elaborado por um engenheiro alemão em 1917, esse processo moderno foi desenvolvido aqui no Brasil Por Antonio Cesar da Costa Barros na Escola Politécnica da USP, o primeiro protótipo foi construído na Escola Senai Mário Dedini em Piracicaba."
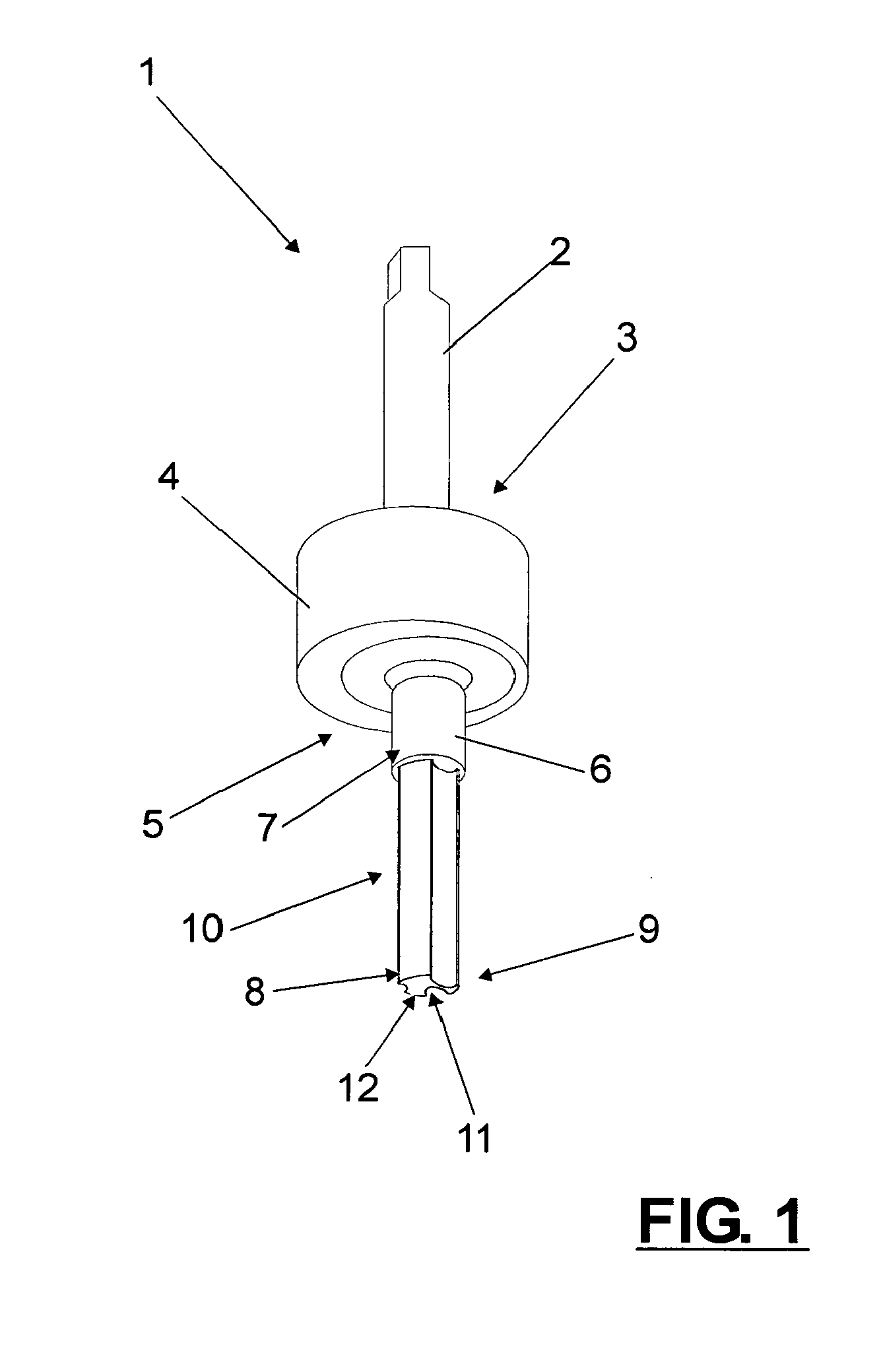
Segue cópia do registro da Patente:
![]() |
Patent Number: EP1925385 (A1) Applicants: DA COSTA BARROS ANTONIO CESARInventors: DA COSTA BARROS ANTONIO CESAR >>International: B23B41/04; B23B41/00 Priority numbers: EP20060024099 20061121 |
Confira abaixo os vídeos do funcionamento da broca e outro dispositivo desenvolvido:
Faça seu comentário! Ele é muito importante para nós!


