Proyecto solicitado [29 de octubre 2015] – Dispositivo para enrollar cables de acero

Proyectos solicitados por FP

Ser miembro N1, Haga clic aquí
Nombre del proyecto:

Dispositivo para enrollar cables de acero

Empresa: Ciudad & Estado:
Miembro exclusivo N1 Quiero proporcionar! Dos peruibes, 25 - apto 61
Nombre: Correo electrónico: Fone:
Humberto Siqueira de Abreu Junior Miembro exclusivo N1 Correo electrónico restringido Miembro exclusivo N1 teléfono restringido
Características del proyecto: Solicitar Validez:
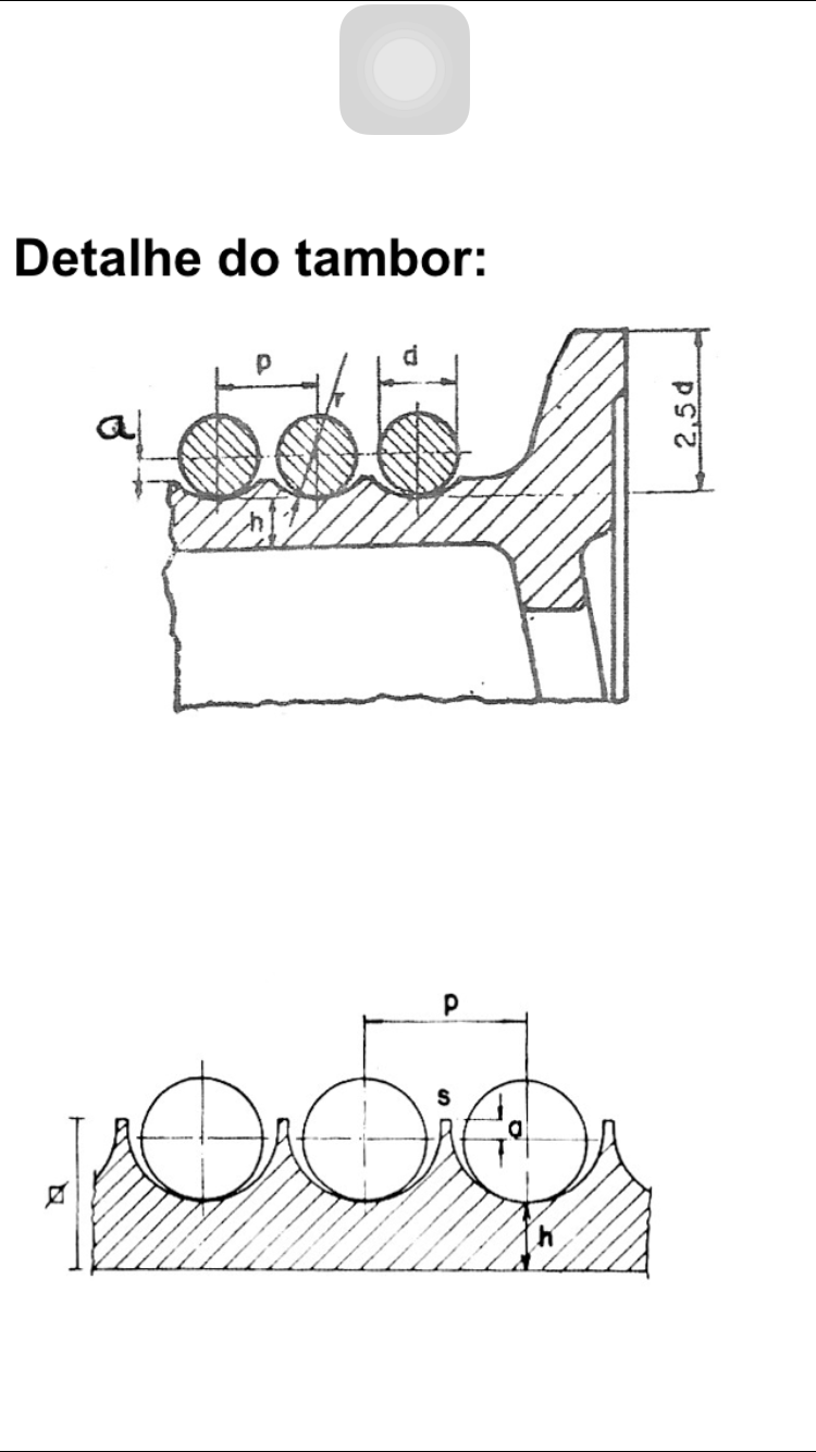
Necesito un proyecto 2D de AutoCAD desde un dispositivo de cuerda de alambre. Es para mi universidad. Diseñe y dibuje un equipo de cables de cables con el sistema de transmisión de correa trapezoidal para los siguientes datos: Módulo = 3 , n = 1200 rpm , Z1 = 14 , i2 = 4,75 , HP = 2CV , V = 0.85m/s

Sigue anexos con más información.
Lo necesito listo para el día 09 Noviembre.

09 Noviembre - fecha de entrega
Imágenes del proyecto (Ilustrativo):
Contacto:
Miembro exclusivo N1 Contacto restringido
Etiquetas:
Proyecto solicitado,Dispositivo para enrollar cables de acero , Oportunidad de desarrollo de proyectos: Dispositivo para enrollar cables de acero , proyecto mecanico: Dispositivo para enrollar cables de acero
Proyecto solicitado [29 de octubre 2015] – Dispositivo para enrollar cables de acero
Vuelve al comienzo